Двохсекційний гальмівний кран - трактора та автомобіля
Двохсекційний гальмівний кран призначений для управління гальмівними камерами робочої гальмівної системи автомобіля і комбінованим приводом гальм причепа за наявності роздільного приводу до гальм передніх і задніх коліс.
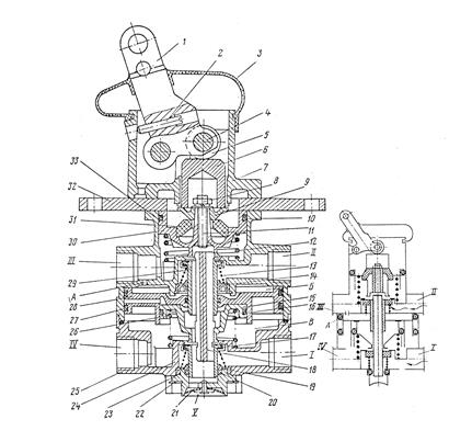
Кран складається з верхнього і нижнього корпусів з алюмінієвого сплаву, сполучених між собою гвинтами. У верхньому корпусі встановлений поршень 3, ущільнений гумовим кільцем. У верхньому поршні 3 встановлені тарілка і пружний гумовий елемент 4, закріплені за допомогою гайки 5 і шпильки.
До верхнього корпусу гвинтами кріпиться механізм важеля, який складається з корпусу, штовхача і важеля і закривається гумовим чохлом. Важіль встановлений на осі і має штовхаючий ролик.
У нижній частині нижнього корпусу крана переміщається великий поршень 1, усередині якого встановлений малий поршень 7, що підтискається до великого пружиною 8. На штовхач 10 малого поршня надітий клапан 2 верхньої секції крана, притискуваний до сідла у верхньому корпусі пружиною 6.

Рис. 21.14.5(а)
У нижньому корпусі розташований клапан 9 нижньої секції, притискуваний до сідла клапана в нижньому корпусі пружиною.
У верхньому і нижнім корпусах крана є висновки, пов'язані з балонами для стислого повітря і з гальмівними камерами коліс.
При натисненні на педаль гальма зусилля передається на важіль 1 крана і через штовхач 6, тарілку і пружний елемент 31 на верхній поршень 3, який переміщаючись вниз, закриває випускний атмосферний отвір в клапані 29 верхньої секції і відриває його від сідла в корпусі, відкриваючи прохід стислому повітрю з введення, що підводить, II верхньої секції до висновку III контура задніх гальмівних механізмів до тих пір, поки сила натиснення на важіль 1 крана не урівноважиться тиском повітря знизу на верхній поршень 3 і клапан 2 закриється при деформації пружного елементу 31. Таким чином здійснюється силова стежача дія у верхній секції гальмівного крана.

Рис. 21.14.5(б)
Рис.21.14.5. Двохсекційний гальмівний кран
а)-устройство крана; б)-положение деталей при гальмуванні; 1-важіль; 2-регулювальний гвинт; 3-захисний чохол; 4-вісь ролика; 5-ролик; 6-штовхач; 7-корпус важеля; 8-гайка; 9-тарілка; 10,16,20 і 27- кільця ущільнювачів; 11-шпилька; 12,13,24 і 26 – пружини; 14-опорне кільце; 15-малий поршень; 17-клапан нижньої секції; 18-штовхач малого поршня; 19-опорне кільце; 21-клапан атмосферного висновку; 22-наполегливе кільце; 23-корпус атмосферного висновку; 25-нижній корпус; 28-великий поршень; 29-клапан верхньої секції; 30-верхній поршень; 31-пружний елемент; 32-фланець; 33-верхній корпус; 1 і П – висновки до повітряного балона; 111–вивід до гальмівних механізмів передніх коліс; V-атмосферний вивід.
Одночасно стисле повітря через отвір в перегородці поступає з верхньої секції в нижню і переміщає вниз поршень 1, який закриває випускний отвір атмосферного висновку клапана 9 другого ступеня і відриває клапан 9 від сідла в нижньому корпусі. Стисле повітря з введення I, що підводить, поступає до виводу 1V, сполученому з виконавчими механізмами іншого контура робочої гальмівної системи. Одночасно підвищується тиск під поршнями 1 і 7 нижньої секції, яке врівноважує силу діючу на поршень 3 зверху, завдяки чому на виході з нижньої секції встановлюється тиск, відповідний зусиллю на важелі 1 гальмівного крана. Таким чином здійснюється силова стежача дія в нижній секції гальмівного крана.
При відмові в роботі верхньої секції нижня секція управлятиметься механічно через шпильку 5 і штовхач 10 малого поршня 7, повністю зберігаючи свою працездатність. Стежача дія здійснюється урівноваженням сили, прикладеної до важеля 1 крана, і тиском повітря на малий поршень 15.
При відмові в роботі нижньої секції крана верхня працює як завжди.