Гідравлічний гальмівний привід
Найпростіший гідравлічний гальмівний привід складається з головного гальмівного циліндра 3 (рис.21.9.1), поршень 2 яке зв'язаний через шток 1 з гальмівною педаллю, робочих циліндрів 6 гальмівних механізмів передніх і задніх коліс і сполучних трубопроводів.
Принцип дії гальмівної системи з гідравлічним приводом полягає в наступному. При натисненні на гальмівну педаль штовхач 1 переміщає поршень 2 головні гальмівні циліндри з манжетою 4, унаслідок чого в циліндрі підвищується тиск рідини до величини, при якій відкривається випускний клапан 5, повідомляючи головний циліндр з робочими гальмівними циліндрами 6 коліс. Під дією тиску рідини поршні 7 в робочому гальмівному циліндрі колеса розходяться і притискують гальмівні колодки 8 до гальмівного барабана 9.

Рис. 21.9.1 Принцип дії гальмівної системи з гідравлічним приводом:
а — при натисненні на гальмівну педаль; б — при відпуску педалі; 1 — штовхач; 2 — поршень; 3 — головний гальмівний циліндр; 4 — манжета; 5— випускний клапан; 6—робочий гальмівний циліндр; 7 — поршні робочого циліндра; 8 — гальмівні колодки; 9 — гальмівний барабан; 10 — стягнута пружина; 11—зворотний клапан
При цьому між колодками і барабаном виникає сила тертя, під дією якої обертання барабана з колесом сповільнюється або зовсім припиняється. Після припинення натиснення на педаль вона під дією пружини відходить в початкове положення разом з штовхачем 1 і поршнем 2 циліндри. В цей час стягувані пружиною 10 колодки 8 відходять від барабана 9, поршні 7 робочих циліндрів зближуються і витісняють з робочих циліндрів частину рідини в головний гальмівний циліндр через зворотний клапан 11. Після розгальмовування в гідравлічному приводі залишається надмірний тиск до 0,05 МПа, за рахунок дії клапанів 5 і 11, що забезпечує готовність системи до повторного гальмування і попереджає попадання повітря в гідропривід.
Достоїнствами гідравлічного приводу є: незначний час спрацьовування, невеликі розміри і маса і зручність компоновки вузлів приводу. Отвір П компенсує зміну об'єму рідини в гідроприводі при витоку, зміні температури і т. д. Отвір 1 – перепускає рідину з резервуару в передпоршневу порожнину при розгальмовуванні, щоб уникнути попадання повітря в гідропривід.

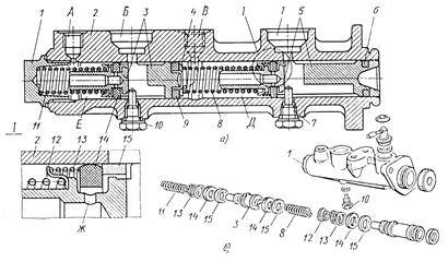
Рис. 21.9.2.1 Схема гальмівного приводу автомобіля ВАЗ:
а — положення деталей при гальмуванні; б—після розгальмовування; 1—гальмівна педаль; 2 — шток; 3, 8 — манжети поршнів; 4 — головний гальмівний циліндр; 5 — обмежувач ходу поршнів: 6—поршень приводу гальм передніх коліс; 7 — поршень приводу гальм задніх коліс; 9—штуцер для подачі рідини до задніх коліс; 10 — опорна чашка пружини манжети; 11 — штуцер подачі рідини до передніх коліс; 12 — відтяжна пружина гальмівної педалі; 13 — вмикач стоп-сигналу; 14 — штовхач вмикача стоп-сигналу; 15, 16 — бачки для гальмівної рідини
На новіших автомобілях гідравлічний привід застосовують двухконкурний. Це досягається застосуванням двохпоршневого головного гальмівного циліндра типу «тандем», одна порожнина якого пов'язана з робочими циліндрами гальмівних механізмів передніх коліс, а інша порожнина – з робочими циліндрами гальмівних механізмів задніх коліс (рис.21.9.2.1.). Зараз ширше застосовується діагональний розподіл контурів. У один контур входять гальмівні механізми лівого переднього і правого заднього коліс, в інший контур – правого переднього і лівого заднього коліс.

Рис. 21.9.2.2
Застосовуються і інші варіанти утворення контурів.
При натисненні на гальмівну педаль і виході з ладу контура гальмівних механізмів передніх коліс поршень 6 рухається вхолосту до упору в поршень 7, після чого почне працювати контур задніх коліс.
При виході з ладу контура гальмівних механізмів задніх коліс обидва поршні 6 і 7 рухаються вхолосту до упору поршня 7 в пробку циліндра, після чого почне працювати контур передніх коліс. Ефективність гальмування при несправному одному контурі знижується приблизно до 30%, а при діагональному розподілі контурів до 50%.