Пневматичний гальмівний привід
Пневматичний гальмівний привід застосовується на вантажних автомобілях середньої і великої вантажопідйомності, для гальмування яких потрібне могутнє джерело енергії.

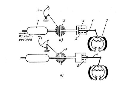
Рис. 21.12.1 Схема простого пневматичного гальмівного приводу
Простий пневматичний гальмівний привід автомобіля (рис.21.12.1) складається з повітряного балона 1, в який подається стисле повітря з компресора, крана 3, що приводиться в дію від педалі 2, і гальмівного циліндра 4, шток 6 якого пов'язаний з розтискним кулаком гальма 7.
У положенні, відповідному розгальмованому стану, кран 3 сполучає внутрішню порожнину циліндра 4 з атмосферою. Якщо натиснути на педаль, кран 3 з'єднає внутрішню порожнину гальмівного циліндра 4 з повітряним балоном 1. Стисле повітря, впливаючи на поршень 5, перемістить шток, і гальмівні колодки притиснуться до барабана. Сила, передана від поршня на шток 6, залежить від тиску повітря і площі поршня. Оскільки в циліндрі встановлюється такий же тиск повітря, як і в повітряному балоні, гальмівні колодки притискаються до гальмівного барабана при кожному гальмуванні з однаковою силою, зумовлюючи постійний режим гальмування.
Для того, щоб тиск повітря в циліндрі 4 залежав від зусилля на педалі 2, в гальмівному приводі встановлюють автоматично діючий стежачий механізм. Стежачі механізми, що управляють роботою гальм, бувають прямої і зворотної дії. Стежачі механізми прямої дії зраджують тиск повітря прямо пропорціонально силу на педалі.
По вимогах стандартів пневмопривод робочої гальмівної системи повинен мати не менше двох незалежних контурів, з тим щоб пошкодження одного контура не викликало відмову іншого контура, що підвищує безпеку руху. Сучасні автомобілі мають незалежні контури приводу гальмівних механізмів передніх і задніх коліс робочої гальмівної системи і незалежні контури інших систем (стоянки, допоміжної і т. д.).