Підсилювачі в гідравлічному гальмівному приводі
Підсилювачі полегшують працю водія при гальмуванні і підвищують ефективність гальмування.
На автомобілях найбільш поширені вакуумні підсилювачі, що використовують розрядку в трубопроводі впускання двигуна.
Кожен підсилювач включає виконавчий і стежачий пристрій.
Виконавчий пристрій виконується звичайно у вигляді мембранної вакуумної камери. Стежачий пристрій включає чутливий елемент, що реагує на зусилля, прикладеної до гальмівної педалі, і два клапани – вакуумний і атмосферний. Якщо стежачий пристрій має механічний привід, тобто встановлене між гальмівною педаллю і головним гальмівним циліндром, то підсилювач називають «вакуумним» (рис.21.10.2.), якщо привід до стежачого пристрою гідравлічний – «гідровакуумним» (рис.21.10.1.).
Коли зусилля на гальмівній педалі відсутнє в обох порожнинах А і б вакуумної камери створюється однакова розрядка, завдяки відкритому вакуумному клапану 6, зв'язуючому обидві порожнини.
При гальмуванні стежачий пристрій реагує на зусилля, створюване в приводі і забезпечує закриття вакуумного клапана 6 і відкриття повітряного клапана 7, через яке повітря з атмосфери

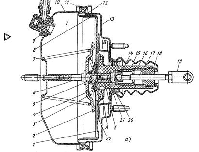
Рис. 21.10.1

Рис. 21.10.1 Гідровакуумний підсилювач
а—конструкція; б — схема роботи підсилювача; у і г — положення кулькового клапана при непрацюючому і працюючому підсилювачі; 1 — мембрана; 2 корпус підсилювача; 3 — тарілка мембрани; 4 – штовхач поршня; 5 — пружина мембрани; 6 — вакуумний клапан; 7— повітряний клапан; 8— кришка корпусу клапана управління;
проходить в одну з порожнин А вакуумної камери. Різниця тиску діючих на мембрану вакуумної камери, створює зусилля на штоку і поршні 17 гідравлічного циліндра 15, яке складається із зусиллям, створюваним на гальмівній педалі.

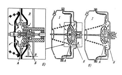
Рис. 21.10.2

Рис. 21.10.2 Вакуумний підсилювач
а — конструкція; про — положення при непрацюючому підсилювачі; і — положення при початку роботи; 1—опорний диск мембрани: 2 — опорна тарілка; 3 і 7 — поворотні пружини; 4 — центральний клапан; 5 - стопорна шайба; 6 — шток; 8 — опорне кільце мембрани; 9— зворотний клапан: 10 - кришка корпусу; 11 — сполучне кільце: 12 - мембрана: 13—підстава корпусу: 14 — опора штовхача; 15— поршень; 16—притискна втулка: 17 — штовхач поршня: 18—фільтр; 19—вилка штовхача; 20 — направляюче кільце. 21 — регулювальний гвинт: 22 — кільцевий упор: А і Б—отвір; У - зазор; I II-порожнини
Діафрагма стежачого пристрою знаходиться під аналогічною різницею тиску, за рахунок чого забезпечується силова стежача дія підсилювача.