Підсилювачі рульового управління
Гідропідсилювач вбудований в рульовий механізм
Насос гідропідсилювача
Загальний пристрій підсилювачів
Підсилювачі рульового управління полегшують управління автомобілем, підвищують його маневреність і безпеку, оскільки дозволяють зберігати керованість автомобілем у разі розриву шини на одному з керованих коліс і пом'якшують поштовхи, що передаються на рульове колесо при русі автомобіля по нерівній дорозі.
Найбільше поширення набули гідравлічні підсилювачі, а останнім часом на легкових автомобілях застосовують електричні підсилювачі.

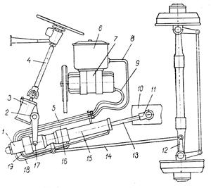
Рис. 21.5.1 Схема гідропідсилювача керма автомобіля МАЗ
Розташування приладів:1—розподільник; 2—рульова сошка; 3 — рульовий механізм; 4 — рульовий вал; .5, 16, 18, 19—трубки; 6—бачок; 7 — насос; 8, 9— шланги; 10 — лонжерон; II — головка штока; 12— важіль лівого поворотного кулака; 13—шток; 14 — подовжня рульова тяга; 15 — силовий циліндр; 17 — кульовий палець сошки.
Гідропідсилювач включає наступні основні елементи (рис.21.5.1.): гідронасос 7(енергетична установка), одержуючий привід від двигуна; розподільний пристрій 1 (клапан управління); виконавчий пристрій – гідравлічний силовий циліндр 15, створюючий необхідне зусилля в приводі.
Якщо клапан управління, силовий циліндр конструктивно об'єднані з рульовим механізмом, то гідропідсилювач називається вбудованим.
Якщо елементи гідропідсилювача виконані окремо і підключені до рульового приводу, то підсилювач називають окремим (рис.21.5.1.).
Розподільний пристрій може мати золотник, що поступально переміщається, або золотник, що обертається.
Гідропідсилювач вбудований в рульовий механізм
На автомобілях ЗІЛ рульовий механізм (рис.21.5.2.) має вбудований гідропідсилювач. У рульовий механізм входять: картер 7, що має циліндр, в якому встановлюється поршень-рейка 18 з кільцями ущільнювачів. Рейка 18 знаходиться в постійному зачепленні із зубчатим сектором, виготовленим за одне ціле з валом 16 сошки. У поршні 18 гвинтами закріплена кулькова гайка, в яку укрутять гвинт 15 з циркулюючими кульками. Картер 17 герметично закривається кришками. Над верхньою кришкою кріпиться корпус клапана управління. На гвинті між двома наполегливими шарикопідшипниками змонтований золотник 14, що має на зовнішній поверхні дві виточки. Внутрішні кільця підшипників при середньому нейтральному положенні золотника розташовуються із зазором 1мм від корпусу золотника, що дає можливість золотнику 14 разом з гвинтом 15 переміщатися в осьовому напрямі на цю величину. Золотник 14 з гвинтом 15 в середньому нейтральному положенні фіксується шістьма пружинами з парою реактивних плунжеров 13 кожна; вони встановлені в каналах корпусу золотника. До корпусу клапана приєднані зливний і нагнітальний шланги.

Рис. 21.5.2 Схеми роботи гідропідсилювач рульового приводу автомобіля ЗІЛ
а — нейтральне положення; б—переміщення золотника вправо; у — переміщення золотника вліво: 1 і 7 — перепускні клапани: 2— сапун; 3 і 4 – сітчасті фільтри: 5 — колектор; 6 — насос; 8 — запобіжний клапан; 9 і 10 — демпфуючі отвори: 11 — отвір, що калібрується; 12 — кульковий клапан: 13 — реактивний плунжер: 14— золотник; 15 — гвинт рульового механізму: 16—вал сошки; 17— картер рульовою механізму
При повороті рульового колеса гвинт 15 пересуває гайку з поршнем 18 і рейка 18 повертає сектор з валом 16 сошки. Сошка через подовжню рульову тягу повертає важіль поворотного кулака. При обертанні гвинта 15 виникає сила, що зсовує гвинт із золотником 14 в осьовому напрямі у відповідну повороту сторону. Якщо ця сила перевищує силу пружини реактивних плунжерів, то відбувається зсув золотника від нейтрального положення. При цьому одна порожнина циліндра картера 17 сполучається з лінією тиску, а інша – з лінією зливу. Масло поступаюче з насоса в циліндр тисне на рейку-поршень 18, створюючи додаткове зусилля на секторі валу і сприяючи повороту коліс.
Гідропідсилювач рульового управління із золотником, що обертається
Рульовий механізм 8 (рис. 21.5.3.2) кріпиться на лівому лонжероні чотирма болтами і є двухступінчатий механічним редуктором з передачею "гвинт - кулькова гайка - зубчата рейка - тризубий сектор з вбудованими силовим циліндром і розподільником.
Картер Г (рис. 21.5.3.1) є одночасно силовим циліндром, в якому переміщається гайка - поршень 2. Гайка - поршень має всередині гвинтову канавку і через, кульки, що знаходяться в ній, 3, виконуючі роль нитки різьблення, взаємодіє з гвинтом 4.
Вхідний і вихідний кінці гвинтової канавки на гайка - поршні замикаються жолобом 5, заповненому такими ж кульками, як і канавки гвинта і гайка - поршень. При повороті гвинта гайка – поршень переміщається уздовж його осі, а кульки, перекочуючись по канавках, входять в один кінець жолоба, переміщаючись всередині, виходять з іншого його кінця і поступають з іншого боку гайки в гвинтовій канал. Утворений канавками на гвинті і гайка - поршні. На бічній поверхні гайка - поршня нарізані зуби рейки, що знаходяться в зачепленні із зубами сектора-валу сошки 6, тому переміщення гайка - поршня викликає поворот валу сошки, встановленого на двох роликових підшипниках. Зуби на секторі валу сошки нарізані під кутом до осі обертання переміщенням валу сошки. У верхню частину валу сошки вставлений регулювальний гвинт 7, що утримується" від осьового зсуву у валу 'сошки двома шайбами 8, встановленими в поперечні прорізи валу сошки і кільцеву проточку гвинта. При обертанні регулювального гвинта відбувається переміщення валу сошки уздовж його осі і зміна величин бічних зазорів в зубчатому зачепленні.
. Гвинт регулювального механізму, встановлений між двох наполегливих підшипників, один 9 з яких розміщений в картері рульового механізму, а другий 10 - в корпусі розподільника. Регулювання переднатягу підшипників здійснюється гайкою 11, укрученої в картер. Після регулювання поясочок гайки вдавлюється в пази картера.
Вбудований розподільник, що управляє потоком робочої рідини, роторний тангенціальний - включає: корпус розподільника 12, вал-золотник 13, гвинт рульового механізму 4, гільзу 14, сегментні упори 15 і центруючий торсіон 16. Вал-золотник одним кінцем входить в отвір гвинта рульового механізму, а другим кінцем спирається на роликовий радіальний підшипник 17, встановлений в корпус розподільника. Торсіон за допомогою штифтів сполучає гвинт і вал-золотник, утворюючи між ними пружний зв'язок.

Рис 21.5.3.1 Інтегральний рульовий механізм:
1 - картер; 2 - гайка-поршень; З - кулька; 4 - винт рульові механізми; 5 - жолоб; 6 - вал сошки; -7 - регулювальний гвинт; 8 - шайба; 9, 10 - подшпникі гвинта; 11 - гайка; 12 - корпус розподільника; 13 - вал-золотник; 14 - гільза; 15 - упор; 16 - торсіон; 17 - роликовий підшипник; 18 - перепускний клапан; 19 - кришки бічна; 20 - клапан прокачування; 21 – контргайка.
Два сегментні упори встановлені одночасно в поперечні, пази гвинта і валу-золотника. Кожен сегмент плоскою частиною, паралельної осі обертання гвинта і валу-золотника, лежить на перемичках гвинта, а аналогічні плоскі частини перемичок вал-золотника розташовані під кутом до плоскої вищезазначеної частини кожної перемички, завдяки чому вал-золотник додатку зусилля до рульового колеса для його повороту може повертатися щодо гвинта рульового механізму до 7° в кожну сторону, закручувавши при цьому торсіон. На циліндровій поверхні одного з двох сегментних упорів є радіально розташована конічна виїмка, в яку встановлюється кулька, що одночасно входить в трикутний шліц гільзи і виконуючий роль повідця гільзи для її обертання сумісно з гвинтом.
Вал-золотник за допомогою карданного шарніра пов'язаний з валом рульової колонки, на якому встановлено рульове колесо.
На гвинті рульового механізму і вал-золотнику є рівномірно розташовані по перетину радіальні отвори, які з подовжніми пазами на гвинті і отворами в кільцевій з конічними бічними, поверхнями проточці гільзи утворюють розподільні канали, по яких, робоча рідина підводиться до порожнин А і б механізму розділеним гайка - поршнем з допомогою, зовнішніх і внутрішніх кілець ущільнювачів.
У корпусі розподільника є кульковий перепускний клапан 18, забезпечений при непрацюючому насосі гідропідсилювача перетікання масла з однієї порожнини картера в іншу, минувши бачок і насос. При працюючому насосі кулька, притискається тиском масла до сідла, закриває клапан і перешкоджає перетіканню масла з нагнітальної магістралі в зливну. Для видалення повітря з гідросистеми в бічну кришку 19 встановлений клапан прокачування 20. Взаємне положення вал - золотника і гвинта, визначаюче нейтральне гідравлічне положення розподільника, встановлюється в процесі збірки рульового механізму на спеціальному стенді заводу - виготівника і фіксується штифтом.
При прямолінійному русі автомобіля вал - золотник і гвинт встановлені так, що розподільник займає нейтральне гідравлічне положення, при якому порожнина нагнітальної магістралі і порожнини А, Би рульового механізму з'єднуються через розподільні канали з порожниною зливною, магістралі, причому, тиск в цьому випадку в порожнинах А, Би і зливній магістралі однакові.
При повороті рульового колеса, наприклад, направо вал - золотник повертається, закручувавши торсіон за допомогою зовнішнього штифта, щодо гвинта так, що площа щілин в розподільних каналах, що сполучають нагнітальну магістраль з порожниною б рульового механізму і площа щілин в розподільних каналах, що сполучають порожнину зливної магістралі з порожниною А рульового механізму збільшуються, а площа щілин розподільних каналів," що сполучають порожнину зливної магістраті порожниною В, і площа щілин розподільних каналів, що сполучають порожнину" нагнітальної магістралі з порожниною А, зменшуються. В результаті такої зміни щілин розподільних каналів в розподільнику відбувається зростання тиску рідини, що поступає, від насоса в нагнітальну магістраль і порожнину Б. Поступаюча під тиском в порожнину б рідина викликає переміщення гайка - поршня і поворот гвинта у напрямі повороту вал - золотника до тих пір, поки не припиниться обертання рульового поршня відбувається витіснення рідини з порожнини А в зливну магістраль. Тиск в гідросистемі, що розвивається насосом, збільшується із збільшенням зусилля опору коліс повороту і визначається співвідношенням площ щілин розподільних каналів, що сполучають площини А і б рульового механізму в даний момент часу з площинами нагнітальної і зливної магістралей.

Рис. 21.5.3.2 Схема роботи системи - гідропідсилювача рульового управління:
1 - вал-золотник; 2 - торсіон;3 - гвинт; 4 - гільза; 5 - поршень-рейка; 6 – вал сошки; 7 - бачок; 8 - фільтр; 9 – насос.
Площі щілин розподільних каналів залежать у свою чергу від величини взаємного кутового зсуву вал - золотника і гвинта: чим більше їх кутовий зсув, тим вище тиск в гідросистемі. При збільшенні кутового змішення вал - золотника щодо гвинта збільшується кут закручування торсіона і момент, необхідний для його закручування. Таким чином, із збільшенням зусиль опору керованих коліс повороту збільшується і зусилля для повороту рульового колеса, що забезпечує водію так зване "відчуття дороги". При виході автомобіля з повороту водій відпускає рульове колесо, торсіон, розкручуючись, повертає вал - золотник щодо гвинта і встановлює розподільник в нейтральне гідравлічне положення, який в такому положенні не перешкоджає самоповернення керованих коліс.

Рис. 21.5.3.3 Схема роботи системи гідропідсилювача рульового управління: . 1 - вал-золотник; 2 - торсіон; 3 - гвинт; 4 - гільза; 5 - поршень-рейка; 6 - вал-сошки; 7 бачок;8- фільтр;9-насос.
Якщо при управлінні автомобілем під час руху в заданому напрямі на керовані колеса з боку дороги при наїзді на перешкоду впливає сила, прагнуча повернути їх, то цей поворот коліс викличе переміщення гайка - поршня в рульовому механізмі і поворот гвинта відносно вал – золотника. Отже, подачу рідини під тиском у відповідну порожнину рульового механізму, викликаючи повернення гайки - поршня і гвинта в початкове до наїзду на перешкоду положення.
При повороті рульового колеса наліво гідропідсилювач працює також, як і при повороті направо, стій лише різницею, що рідина під тиском поступає в порожнину А, а з порожнини б рідина витісняється, гайка - поршнем в зливну магістраль. При непрацюючому гідропідсилювач момент, що крутить, з вал-золотника на гвинт передається після повороту. Вал - золотника відносно " гвинта на величину кутового зазора між відповідний поверхнями сегментів і перемичок на вал - золотнику.

Рис. 21.5.3.4. Схема роботи системи гідропідсилювача рульового управління:
1 - вал-золотник; 2 - торсион; 3- - гвинт; 4 - гільза; 5 - поршень-рейка; 6 - вал-сошки; 7 - бачок; 8 - фільтр; 9 – насос
Насос гідропідсилювача
Насос служить для створення необхідного тиску рідини в силовому циліндрі гідропідсилювача.
Найчастіше застосовується багатолопатевою (коловоротний) насос подвійної дії (тобто що має по дві порожнини всмоктування і нагнітання).
Насос складається з корпусу 3 (рис. 21.5.4) і кришки 12, між якими затиснений чотирма болтами статор 8. У отворі статора 8 овальної форми встановлений циліндровий ротор 9 з прямокутними пазами, в яких переміщаються лопаті 27. Між ротором 9 і статором 8 утворюються клиновидні порожнини. Лопаті притискаються до стінок статора відцентровою силою і тиском масла на їх внутрішні торці.
Ротор 9 закріплений на внутрішньому шліцьовому кінці валу 6, а на зовнішньому його кінці встановлений шків 26 клиноремінниї передачі від колінчастого валу (ЗІЛ) або шестерня (КамАЗ). Вал 6 насоса обертається в двох підшипниках 4 і 7 і ущільнюється в корпусі сальником 5. До статора 8 притискається розподільний диск 10 з порожнинами і клапанами.

Рис. 21.5.4 Насос гідропідсилювача рульового приводу:
1 і 13 — перепускні клапани; 2 і 20 — сітчасті фільтри; 3 — корпус насоса; 4 — шарикопідшипник; 5 — сальник; 6 — вал насоса; 7—голчатий підшипник; 8—статор; 9—ротор; 10—розподільний диск; 11 — отвір, що калібрується; 12 — кришка насоса; 14— сідло запобіжного клапана; 15— пружина; 16 — запобіжний клапан; 17 — колектор; 18— бачок; I9 — гумова прокладка: 21 — сапун: 22 — кришка бачка; 23 - шайба: 24 — гайка-баранчик; 25 — гумове кільце: 26 — шків: 27— лопать.
Зверху до корпусу насоса кріпиться бачок для масла, що має два фільтри 2 і 20, кришку 22 і сапун 21.
З бачка 18 масло поступає в клиновидні порожнини між ротором 9 і статором 8, в яких при обертанні ротора з лопатями створюється розрядка, оскільки спочатку лопаті 27 під дією відцентрової сили висуваються і об'єм збільшується. Після проходу порожнини всмоктування лопаті всовуються і об'єм для масла зменшується, тому масло нагнітається через отвір, що калібрується, 11 в нагнітальну магістраль в кришці, в якій встановлений поршневий перепускний клапан 16 регулюючий продуктивність насоса (12-15 л/міни.).
Усередині перепускного клапана встановлений кульковий запобіжний клапан 16 обмежуючий тиск масла 6,5-7 МПа.
На автомобілях МАЗ застосовується насос гідропідсилювача шестерінчастого типу. Конструкція і принцип дії аналогічний насосу системи мастила двигуна.