Машины для внесения удобрений
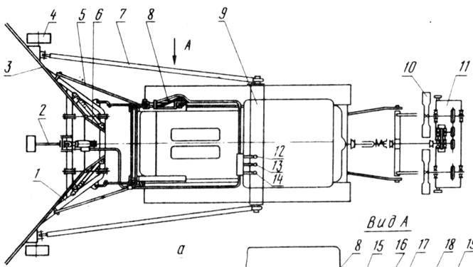
Агрегат измельчитель-растворитель удобрений АИР-20
Предназначен для измельчения слежавшихся и не слежавшихся минеральных удобрений (затаренных и не затаренных).

Привод рабочих органов осуществляется от ВОМ трактора. Состоит из рамы с ходовой частью, измельчающего устройства, бункера с подающим механизмом и прижимным устройством, сепарирующего устройства, отгрузочного транспортера, устройства для удаления мешкотары, механизма привода рабочих органов. Агрегатируется с тракторами класса 1,4.
Техническая характеристика
Производительность в час основного времени, т:
При растаривании минеральных удобрений ... 50
При растаривании-измельчении слежавшихся минеральных удобрений......22
При измельчении слежавшихся незатаренных минеральных удобрений...... 25
Мощность, кВт.............. 22
Транспортная скорость, км/ч......... 16
Высота выгрузки с откидного транспортера, мм. 2410
Ширина транспортера, мм...'....... 650
Дорожный просвет, мм........... 260
Вместимость бункера, м3.......... 0,95
Типы: измельчающего устройства......... барабанный с подвижной щеткой
сепарирующего устройства........ активный комбинированным Трудоемкость составления агрегата, чел.-ч. . . . 0,15
Габаритные размеры, мм.......... 6450Х3910ХХ2730
Масса, кг................ 1886
Установка тукосмесительная мобильная Утм-30
(в варианте с электроприводом — стационарная, при работе с трактором — полуприцепная)
Предназначена для получения 2- или 3-компонентных тукосмесей с одновременной загрузкой в транспортные средства. Состоит из рамы, трех дозирующих и продольного транспортеров, смешивающего устройства, отгрузочного элеватора, трех бункеров и трех дозирующих клапанов, механизма привода, электропривода, колесного хода с гидроприводом и тормозной системой, а также устройства весового контроля. Привод рабочих органов от электродвигателя или ВОМ трактора.


Основной смешивающий орган — лопаточный битер. Положение лопаток битера по отношению к направлению движения потока регулируется при помощи гаек и контргаек. Загрузка смесителя проводится с одной стороны. С помощью дозирующих клапанов устанавливаются необходимые величины щелей для заданной пропорции смеси.
Агрегатируется с тракторами классов 0,9; 1,4.
Обслуживает оператор или тракторист (при работе от ВОМ трактора).
Техническая характеристика
Производительность в час, т:
Основного времени ........... 37,1
Эксплуатационного ........... 23,0
Потребляемая мощность, кВт...... . . . 11
Транспортная скорость, км/ч......... 15
Точность дозирования, %......... ±3
Средняя неравномерность качества смешивания, % . 10
Вместимость бункера, mj.... 2,15
Число бункеров....... 3
Высота загрузки по бортам
Бункеров, мм......... 2100
Высота отгрузки смеси, мм. . . 2700
Дорожный просвет, мм.......... 280
Габаритные размеры, мм:
В рабочем положении......... 11050Х2500Х3400
Транспортном............. 14 800Х2500Х3650
Масса, кг................ 2575
Применение установки УТМ-30 по сравнению с машиной УТС-30 обеспечивает снижение удельной материалоемкости на 35 %, повышение производительности труда на 10%.
Одноосный разбрасыватель минеральных удобрений
Гидрофицированный 1-РМГ-4
Предназначена для поверхностного внесения всех видов и форм минеральных удобрений, известковых материалов и гипса. Представляет собой одноосный полуприцеп и состоит из рамы, кузова, устройства привода транспортера, распределяющих органов, ходовой системы. Кузов биметаллический для обеспечения необходимой коррозионной устойчивости.

Регулировка дозы внесения удобрения осуществляется изменением ширины щели между днищем и дозирующей заслонкой по линейке, прикрепленной под заслонкой к заднему борту.
Агрегатируется с тракторами тягового класса 1, 4.
Обслуживает тракторист.
Техническая характеристика
Производительность в час основного времени
При скорости 10 км/ч, га............. 8... 14
Рабочая ширина захвата при внесении
Удобрений, м:
Гранулированных ............ 14
Порошковидных и мелкокристаллических .... 8
Скорость, км/ч: рабочая............... 12
Транспортная с грузом.......... 16
Доза внесения, кг/га .....:..... 100... 6000
Погрузочная высота, мм........... 1840
Дорожный просвет, мм....... 370
Габаритные размеры, мм:
В рабочем положении.......... 5800 X6000Х1840
Транспортном............. 5450Х2100Х3150
Масса, кг............ 1430
Машина для внесения минеральных удобрений и посева семян сидератов МВУ-0,5А
Предназначен для поверхностного внесения твердых минеральных удобрений в гранулированном и кристаллическом виде на мелкоконтурных полях и в садах с последующей заделкой их почвообрабатывающими орудиями, подкормки озимых культур, пропашных (на ранней стадии развития), лугов и пастбищ, посева семян сидератов.

Доза внесения устанавливается в зависимости от рабочей скорости агрегата механизмом регулировки. Равномерность распределения удобрений по ширине регулируется дозирующим устройством.
Машина МВУ-0.5А используется в основном по перегрузочной технологической схеме.
Состоит из конического бункера с предохранительной сеткой, скребкового подающего и донного дозирующего устройств, ротационного сводоразрушителя, центробежного тукорассеивающего аппарата пневмомеханического типа и механизма привода рабочих органов.
Туковысевающий аппарат состоит из лопастного диска. На лопастях расположена крышка с центральным загрузочным отверстием. В центре, диска укреплен конус-рассекатель. Подающее устройство изготовлено в виде вращающихся на валу скребков, расположенных параллельно заслонкам дозирующего устройства.
Агрегатируется с колесными тракторами тяговых классов 0,6; 1,4; 2.
Обслуживает тракторист.
Техническая характеристика
Производительность в час, га:
Основного времени.....■....... 8 ... 16
Эксплуатационного времени при внесении по перегрузочной технологии гранулированных удобрений дозой 200 кг/га и с насыпной плотностью
1200 кг/м3............. 5.6
Грузоподъемность, кг........... 600
Удельный расход топлива, кг/т......... 7
Потребляемая мощность, кВт........ 6
Скорость, км/ч:
Рабочая............... 6... 15
Транспортная ............. 25
Рабочая ширина захвата при внесении удобрений, м:
Гранулированных ............ 16...24
Кристаллических ....... 8.. .10
Неравномерность внесения, %:
По рабочей ширине захвата....... 22
По ходу движения агрегата........ 10
Норма внесения, кг/га:
При внесении удобрений......... 40 . . . 1000
При посеве семян сидератов....... 10 . . . 200
Максимальная высота погрузки от
поверхности земли, мм. 1500
Габаритные размеры, мм:
В рабочем положении.......... 1350Х1350Х1500
Транспортном с МТЗ-80/-82........ не более 5Ю0Х2600Х 2500
Масса, Кг................ 220
Машина для внесения удобрений МВУ-5
Предназначена для транспортировки и поверхностного сплошного внесения минеральных удобрений, их смесей, извести и гипса.

Представляет собой одноосный полуприцеп и состоит из кузова, ходовой системы, привода рабочих органов, транспортера, рассеивающих дисков, дозирующего устройства, туконаправителя, пневмотормозной и гидравлической систем, электрооборудования. Рабочие органы центробежного типа.
Агрегатируется с тракторами тягового класса 1,4, оборудованными гидрокрюком и приводом тормозной системы.
Обслуживает тракторист.
Техническая характеристика
Производительность в час основного времени; га. . 7,88
Грузоподъемность, т............ 5
Рабочая скорость, км/ч ........... 11
Дорожный просвет, мм. ........... 400
Колея, мм................ 1800
Удельный, расход топлива в час
Основного времени, кг/га. ч.. 1,2
Неравномерность внесения удобрений по
Ширине захвата. %................. ±22
Дозы внесения, кг/га............ 200...4500
Ширина внесения удобрений, м:
Гранулированных ............ 15,5
Мелкокристаллических ........... 8
Габаритные размеры, мм........... 5375Х2135Х2000
Масса, кг........... 2050
Машина для внесения удобрений МВУ-16
Предназначена для транспортирования и поверхностного сплошного внесения слабопылящих известковых, гипсосодержащих материалов и минеральных удобрений.

Состоит из кузова, рамы, ходовой системы, сцепного и дозирующего устройств, транспортера, рассеивающих дисков, привода рабочих органов, гидро - и пневматической тормозных систем, электрооборудования.
Кузов сварной: борта — из трехслойной коррозионностойкой стали, днище — из нержавеющей. Рассеивающие диски — плоские, имеют по наружному диаметру отбортовку для увеличения жесткости. На диски приклепаны лопатки С-образного сечения, изогнутые в передней части в сторону вращения дисков. Привод рабочих органов — механический. Кроме рабочей тормозной системы, машина оборудована ручным стояночным тормозом с приводом на задние колеса.
Агрегатируется с трактором К-701. Обслуживает тракторист.
Техническая характеристика
Производительность в час основного (эксплуатационного) времени при внесении, га:
Удобрений дозой 400 кг/га
(расстояние перевозки 4 км):
Гранулированных ........... 22(13,2)
Кристаллических............ 12(7,2)
Известковых и гипсосодержащих материалов
Дозой 6000 кг/га (расстояние перевозки 10 км) . . 4(2,4)
Удельный расход топлива, кг/га ........ 6,2
Ширина захвата при внесении, м:
Гранулированных и кристаллических удобрений. 14...22
известковых и гипсосодержащих материалов. 10. . . 14
Скорость, км/ч:
Рабочая............... 8 ... 15
Транспортная............. до 30
Дорожный просвет, мм ... ....... 400
Ширина колеи, мм............. 2340
Удельное давление ходовых колес на почву, МПа. 0,2
Дозы внесения, кг/га........... 300... 12 000
Неравномерность распределения по рабочей
Ширине при внесении, %:
Гранулированных удобрений ........ ±22
Кристаллических удобрений, гипсосодержащих и
Известковых материалов......... ±25
Неравномерность распределения удобрений по ходу
Движения агрегата, %............ ±10
Максимальная высота погрузки (от поверхности
Земли), мм................ 2650
Габаритные размеры, мм ........... 7300X2860XХ2650
Масса, кг................ 4000
Использование машины МВУ-16 в сравнении с РУМ-16 обеспечивает снижение затрат труда на 21,8 %, лучшее распределение гранулированных удобрений по ширине захвата. Машина имеет более совершенную конструкцию туконаправителя, обеспечивающего быстроту и удобство выполнения регулировочных работ. Повышение производительности обеспечивает увеличение грузоподъемности и рабочей скорости на мягком грунте за счет шин низкого давления.
Разбрасыватель удобрений минеральных РУМ-8
Предназначена для поверхностного внесения в почву минеральных удобрений, известковых материалов и гипса. Агрегатируется с трактором Т-1 50К.

Производительность, т/ч..... 7,1
Грузоподъемность, т...... 11
Ширина внесения удобрений, м:
Гранулированных ...... 14—20
Порошковидных и мелкокристаллических...8—14
Доза внесения удобрений, т/га. . . 0,3—6
Скорость, км/ч:
Рабочая......... 15
Транспортная ....... 30
Габаритные размеры, мм..... 6000X2465X2300
Масса, кг.......... 3220
Разбрасыватель удобрений пылевидных РУП-10
Предназначена для транспортировки и поверхностного внесения аэрируемых пылевидных удобрений (фосфатной муки) и известковых материалов (известковой муки, сланцевой золы и др.), а также для перегрузки их в склады.

Состоит из цистерны, балансирной тележки, запорного и штангового устройств, загрузочной трубы, фильтров первой ступени, тормозной и пневматической систем, приборов электрооборудования и сигнализации. Привод компрессора вакуум-насоса РКВН-6 осуществляется от ВОМ трактора через контрпривод и клиноременную передачу.
Загрузка машины при работе со штанговым устройством проводится через камнеотделитель из транспортных машин АРУП-10 или из буртов с помощью самозагружающего устройства. Для аварийного выпуска воздуха из цистерны служит кран.
Рассев материала осуществляется пневматически Управление всеми рабочими органами—из кабины трактора.
Агрегатируется с трактором Т-150К.
Обслуживает тракторист.
Техническая характеристика
Производительность в час основного времени (при
Дозе внесения удобрений 6 т/га и рабочей скорости
10 Км/ч), т............ 48,6
Распиливающее устройство.......... штанговое
Внесение удобрений:
Доза, т/га............... 2 ... 10
Ширина, м............... 11
Неравномерность, %........... 25
Грузоподъемность, т............ 10
Рабочее давление в цистерне, МПа....... 0,12
Рабочее разрежение в цистерне, МПа...... 0,06
Скорость движения, км/ч:
Рабочая............... 15
Транспортная............. 35
Масса, кг..........'...... 5800
Разбрасыватель органических удобрений РОУ-6М
Предназначена для транспортировки и сплошного поверхностного внесения твердых органических удобрений по прямоточной технологии при удаленности полей от ферм (буртов) до 2 км.

Эксплуатируется на равнинах или склонах до 5 град, при температуре окружающего воздуха не ниже —5 °С. Может использоваться для транспортирования других сельскохозяйственных грузов с выгрузкой транспортером назад.
Состоит из платформы, переднего и боковых бортов, ходовой системы, состоящей из двух балансиров с колесами, силовой передачи (карданный вал), трансмиссионных валов с предохранительной муфтой, редуктора, валов привода транспортера и разбрасывающего устройства, храпового механизма, разбрасывающего устройства и цепных приводов, электрооборудования, пневматического привода тормозов, привода стояночного тормоза.
Имеет следующие исполнения:
РОУ-6М-1 —с задним гидрофицированным бортом;
РОУ-6М-2 — с задним гидрофицированным бортом к комплектом дополнительного оборудования для перевозки легковесных грузов;
РОУ-6М-3 — с комплектом дополнительного оборудсь вания для перевозки легковесных грузов.
Гидрофицированный задний борт РОУ-6М-1 и РОУ-6М-2 предназначен для уменьшения потерь перевозимых грузов.
При установке дополнительного оборудования на РОУ-6М-2 и РОУ-6М-3 их можно использовать для перевозки измельченных кормов (силос, сенаж) и других легковесных (плотностью до 400 кг/м3) сельскохозяйственных грузов.
Агрегатируется с колесными тракторами класса 1д (типа, МТЗ-80/82, МТЗ-100/102), имеющими ВОМ, гидрокрюк, выводы гидросистемы, привод пневматических тормозов и розетку для подключения электрооборудования.
Обслуживает тракторист.
Техническая характеристика
Грузоподъемность, кг........... 7000
Вместимость кузова, м3:
Для транспортирования легковесных грузов........... 12
для внесения удобрений...... 4,8
Производительность в час эксплуатационного
Времени на внесении органических удобрений
(при дозе 40 т/га, транспортной скорости не
Менее 16 км/ч, рабочей скорости при внесении
10 км/ч, расстоянии перевозки до 1,5 км), т. . . не менее 22
Отклонение от равномерности внесения удобрений
По ходу движения и ширине внесения, % . . . ±25
Внесение удобрений:
Рабочая ширина, м.......... 4...8
Доза, т/га............. 10; 20; 30; 40; 50;60
Полный ресурс, т............ 32 000
Дорожный просвет, мм.......... не менее 310
Погрузочная высота (от опорной поверхности машины), мм:
В исполнении для внесения удобрений . 2000
Для транспортирования легковесных грузов . 3000
Рабочая скорость, км/ч.......... 7,44 . . . 12,67
Трудоемкость монтажа (демонтажа)
дополнительного оборудования, чел.-ч ........ 4
Давление в шинах, МПа (кгс/см2)...... 0,24 (2,4)
Габаритные размеры (не более), мм: длина...............6300
ширина........... 2500
высота..... 2700
Масса в исполнении, кг:
РОУ-6М.............. 2170
РОУ-6М-1............ 2270
РОУ-6М-2............. 2700
Прицеп – разбрасыватель тракторный ПРТ-10
Предназначена для транспортировки и поверхностного внесения в почву навоза, торфа, торфонавозных компостов и других органических удобрений. Со снятым рабочим органом можно использовать для перевозки различных сельскохозяйственных грузов с выгрузкой их транспортером кузова назад.

Основные узлы: рама, ходовая часть, кузов, транспортер, разбрасывающий аппарат барабанного типа, механизм привода, электрооборудование.
Норму внесения органических удобрений регулируют изменением скорости движения транспортера посредством установки сменных звездочек.
Привод транспортера и разбрасывающего устройства от ВОМ трактора. Агрегатируется с трактором Т-150К. Обслуживает тракторист.
Техническая характеристика
Производительность, т/ч..... 25,3
Производительность в час основного времени, т. 60
Ширина захвата, м............ 6...7
Грузоподъемность, т........... 10
Рабочая скорость, км/ч .......... 10
Норма внесения удобрений, т/га....... 20 ... 40
Погрузочная высота, мм:
По полу платформы.......... 1390
По бортам............. 2090
Дорожный просвет, мм.......... 370
Габаритные размеры, мм ......... 7060X2520X Х2600
Масса, кг............... 4000
Прицеп – разбрасыватель тракторный ПРТ-16А
Предназначена для транспортировки и сплошного поверхностного внесения органических удобрений, а также для перевозки различных сельскохозяйственных грузов с выгрузкой транспортером назад (при снятом разбрасывающем устройстве). Грузоподъемность 16 т.

Состоит из рамы, кузова, подающего транспортера, разбрасывающего устройства, механизма привода разбрасывающего устройства и привода транспортера, ходовой системы с тормозами, электрооборудования.
Внесены изменения, отличающие ПРТ-16М от машины ПРТ-16:
Исключены вспомогательный подъемный кузов и гидрооборудование управления кузовом,
Передний борт кузова выполнен наклонным,
В передней части кузова — надставной борт длиной 2600 и высотой 250 мм,
Длина транспортера увеличена на 1080 мм,
Увеличены скорости вращения разбрасывающих органов,
Уменьшена длина рамы.
Изменение дозы внесения удобрений осуществляется перестановкой звездочек в механизме привода транспортера. Работа ведется челночным способом.
Агрегатируется с тракторами типа К-701.
Обслуживает тракторист.
Техническая характеристика
Производительность н час основного времени, т 65,0
Ширина внесения удобрений, м....... 7 . . .8
Погрузочная высота, мм:
По основным бортам.......... 2240
По надставным бортам......... 2480
По полу платформы.......... 1490
Рабочая скорость, м/с........ 2,8
Дорожный просвет, мм.......... 370
Габаритные размеры в рабочем положении, мм. 8100Х2500Х2480
Масса, кг............... 5325
Разбрасыватель удобрений навесной РУН-15Б
Предназначен для формирования валка из предварительно разложенных куч навоза или компоста и распределения удобрений по поверхности поля.
Агрегатируется с тракторами Т-150К, Т-150. Обслуживает тракторист.


Техническая характеристика
Производительность в час (при дозе внесения
10 т/ч и скорости движения 4,5 км/ч), т:
Основного времени .......... 465
Эксплуатационного.... ...... 235
Ширина внесения, м........... 35
Доза внесения, т/га........... 40 . . . 100
Неравномерность внесения, %:
По длине прохода........... 30
По всей длине............. 65
Габаритные размеры с трактором типа Т-150. мм:
Длина............... 9600/8700
Ширина............... 3250
Высота..........'..... 2825/2510
Машина для жидких органических удобрений МЖТ-10
Предназначена для самозагрузки, транспортировки, перемешивания и сплошного поверхностного внесения жидких органических удобрений, а также для перевозки технической воды.
Состоит из цистерны, сцепного устройства, вакуумной установки, заправочной штанги, центробежного насоса. предохранительных клапанов—жидкостного и вакуумного. уровнемера, балансирной подвески, электрооборудовании.

Передняя часть цистерны-полуприцепа посредством сцепного устройства опирается на гидрокрюк трактора, а задняя через балансирную подвеску — на цапфы ходовых колес. Машина оборудована самозагружающим напорно-переключающим и распределительным устройствам. Привод вакуум-насосов от гидромотора ГМШ-32Л. Норма внесения удобрений на рабочей скорости регулируется установкой различных сменных насадков.
Агрегатируется с трактором Т-150К. Обслуживает тракторист.
Техническая характеристика
Производительность в час основного времени (при дозе внесения 40 т/га, расстоянии перевозки 2- 3 км и средней скорости 20 км/ч), га............ 38,6
Грузоподъемность, т........... 10
Скорость движения, км/ч: рабочая.............. до 10
транспортная с грузом......... до 30
Ширина внесения удобрений, м....... 6 . . . 12
Доза внесения удобрений, т/га....... 10 ... 60
Время саморазгрузки, мин......... 4 ... 7
Неравномерность внесения по рабочей ширине и ходу движения, %....... до 25
Максимальная глубина забора жидкости, м....... до 3,5
Габаритные размеры, мм: в раб. положении и транспортном 7500Х5500ХХ3000
Дорожный просвет, мм.......... 350
Масса, кг............... 4100
Машина для внесения жидких удобрений МЖТ-16
Предназначена для самозагрузки, транспортировки, перемешивания и сплошного поверхностного внесения жидких органических удобрений, а также для перевозки технической воды.

Представляет собой цистерну-полуприцеп, передняя часть которой опирается на подкатную тележку, соединенную посредством сцепного устройства с гидрокрюком трактора, а задняя через кронштейны — на балансирные подвески. С правой стороны цистерна имеет заправочную штангу, в задней части — переключающее устройство.
Норма внесения удобрений устанавливается с помощью сменных задвижек, закрепляемых на выливном патрубке переключающего устройства, и зависит от поступатель ной скорости движения агрегата и угла расположения отражательного щитка. Привод рабочих органов от ВОМ трактора К-701.
Обслуживает тракторист.
Техническая характеристика
Производительность в час основного времени (при лозе внесения 40 т/га, расстоянии перевозки 2...3 км и
Средней транспортной скорости 20 км/ч), т.............. 50
Грузоподъемность, т........... 16
Ширина внесения удобрений, м....... 6... 12
Скорость движения, км/ч: рабочая.............. до 10
транспортная (с грузом) ........ до 30
Время самозагрузки, мин........ 6... 12
Норма внесения удобрений, т/га....... 10 ... 60
Неравномерность внесения по рабочей ширине и ходу движения, %.... до 25
Максимальная глубина забора жидкости, м...... до 3,5
Масса, кг... не более 5800
Подкормщик жидкими удобрениями ПЖУ-5
Предназначен для внесения в почву 2- и 3-компонентных растворов жидких комплексных удобрений с добавками микроэлементов и пестицидов или без них. Может использоваться на внесении аммиачной воды, углеаммикатов и рабочих растворов пестицидов, а также в качестве заправщика машин рабочими жидкостями.

Состоит из шасси, балансирной тележки, емкости, насоса центробежного с редуктором, всасывающей и напорной коммуникаций, заборных рукавов. Оборудуется штангой для поверхностного внесения ЖКУ. Складывание и раскладывание штанги осуществляются при помощи гидроцилиндров из кабины трактора.
Выполнен в виде одноосного полуприцепа, на котором смонтированы составные части и сборочные единицы и представляет собой прицепную машину, агрегатируемую с тракторами класса 1,4. Обслуживает тракторист.
Техническая характеристика
Производительность в час основного времени при
Внесении удобрений, га: поверхностном........... 14... 20
внутрипочвенном........... 6
Ширина захвата при внесении, м: поверхностном ............ 17
внутрипочвенном........... 7,35
Скорость, км/ч: рабочая.............. 8 ... 12
транспортная ............ 15
Расход рабочей жидкости при внесении, л/мин:
Поверхностном............ 30 . . . 300
Внутрипочвенном........... 10... 140
Габаритные размеры в рабочем положении при внесении, мм:
Поверхностном............ 6600X 16 750X3000
Внутрипочвенном........... 8125X7650Х3000
Дорожный просвет, мм.......... 350
Колея, мм. ............. 2040
Масса для внесения, кг: поверхностного ............ 3745
внутрипочвенного............ 4775
Подкормщик жидкими удобрениями ПЖУ-9

Технологический процесс осуществляется следующим образом. Насос засасывает рабочую жидкость из цистерн и подает ее к переключателю потока. Затем жидкость через нагнетательный фильтр поступает к распылителям штанги, а часть — на сопло струйного насоса и мешалку. Рабочее давление устанавливается при помощи регулятора расхода жидкости, управляемого дистанционно (из кабины трактора), и контролируется по манометру.
Самозаправка подкормщика осуществляется через заправочный рукав, соединенный быстросъемными муфтами с подкормщиком и заправочным баком.
Агрегатируется с трактором Т-150К. Обслуживает тракторист.
Техническая характеристика
Производительность в час основного времени, га….. 14 ... 22
Ширина захвата, м............ не менее 17
Скорость, км/ч: рабочая.............. 8 ... 12
транспортная............. 15
Расход жидкости, л/мин......... . 30 . . . 300
Габаритные размеры, мм: в рабочем положении.........6700X16 630 X3500
транспортном............ 6900X3570X 3800
Минимальный радиус поворота по наружной точке штанги, м........11,89
Дорожный просвет, мм.......... не менее 350
Колея, мм............... не более 2040
Масса, кг............... 4490
Подкормщики-опрыскиватели монтируемые ПОМ-630, ПОМ-630-1
Предназначены для внесения в почву водного аммиака при сплошной культивации, междурядной обработке пропашных культур, удобрении лугов и пастбищ, сплошного опрыскивания почвы пестицидами при предпосевной культивации, опрыскивании рабочи'ми жидкостями пестицидов штангой. 
Подкормщик-опрыскиватель ПОМ-630-1 оборудован приспособлением для полосового внесения жидких пестицидов или их смесей с жидкими комплексными удобрениями при посеве и междурядной обработке сахарной свеклы.
Агрегируются: ПОМ-630 с тракторами ЮМЗ-6АЛ/6АМ, МТЗ-80/82, ДТ-75МВ. культиваторами КПС-4-02, КРН-4.2А, КРН-5,6, КРН-5.6А с приспособлениями УЛП-8, УЛП-8А, УЛП-8А-01; ПОМ-630-1 с тракторами Т-70С, ЮМЗ-6АЛ/6АМ, МТЗ-80/82, ДТ-75МВ, сеялками ССТ-8А, ССТ-12Б, культиваторами КПС-4-02, КРН-4.2А, КРН-5,6, КРН-5,6А, УСМК-5.4Б, приспособлениями УЛП-8, УЛП-8А, УЛП-8А-01.
Техническая характеристика
ПОМ-630 ПОМ-630-1
Производительность в час основного времени при работе, га:
С Культиваторами........ 2 ... 5
С сеялками........... — 2,4 . . . 4,3
С приспособлениями типа УЛП . . . 1,76 . . . 2,65
Со штангой сплошного опрыскивания. 9,7 . . . 19,4
Рабочая скорость при работе, км/ч:
С культиваторами........ 5 ... 9
С сеялками.......... — 5...8
С приспособлениями типа УЛП . . . 6,3
Со штангой сплошного опрыскивания. 6 ... 12
Ширина захвата при работе, м:
С приспособлением типа УЛП .... 2,8 . . . 4,2
Со штангой сплошного опрыскивания. 16,2
С культиваторами........ 4; 4,2; 5,6 4; 4,2; 5,4; 5,6
С сеялками.......... 4,8; 5,4
Вместимость баков, л........ 2X315 = 630
Нормы расхода рабочей жидкости, л/га:
При сплошном опрыскивании с культиватором..........100 ... 300
Полосовом опрыскивании..... 100... 150
Подкормке ........... 100...600
Сплошном опрыскивании штангой. . 75 . . . 200
Габаритные размеры в рабочем (транспортном) положении, мм:
Длина............. по агрегату
Ширина ............ 16200 (2550)
Высота ........... по трактору
Масса с полным комплектом рабочих
Органов и приспособлений, кг...... 700 730
Применение подкормщиков-опрыскивателей ПОМ-630, ПОМ-630-1 по сравнению с подкормщиком-опрыскивателем универсальным 'ПОУ обеспечивает повышение производительности соответственно на 22 и 81 %