Электронные выпрямители.
|
Рис. .1. Структурная схема выпрямителя. |
|
|
|
Рис. 2. Однополупериодный выпрямитель: А — Схема выпрямления; Б — график токов и напряжений. |
|
|
|
А — Схема; Б — График токов и напряжений. |
|
|
|
Рис. 5 Графики напряжений и токов в мостовой схеме выпрямителя
|
|
|
|
Рис. 6. Схемы выпрямителей с удвоением (а) И утроением (б) напряжения. |
|
|
|
Рис.7. Схемы сглаживающих фильтров: А — простейший емкостный фильтр; Б И В — Фильтры типа LC; г И Д — Фильтры типа RC.
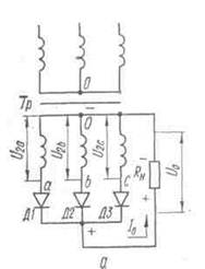
Рис.8. Схема трехфазного выпрямителя (а) и графики напряжений (Б).
|
|
|
|
Рис.9 Схема (а) и временная диаграмма выходного напряжения (б) однофазного однополупериодного управляемого выпрямителя. |
|
|
|
Рис.11. Однокаскадный стабилизатор напряжения Рис. 12. Компенсационный стабилизатор напряжения с усилительным каскадом |
||
|
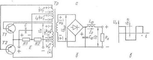
Рис. 13. Преобразователь постоянного напряжения на транзисторах: А -— структурная схема; б — электрическая схема двухтактного преобразователя; ВI— форма напряжения в коллекторной обмотке трансформатора. |
|
Параметр |
Схема выпрямления |
|||
|
Однополупериодная |
Двухполупериодная со средней точкой |
Мостовая |
С удвоением напряжения |
|
|
Максимальное обратное напряжение на вентиле Uобр |
3,1U0 |
3.1U0 |
1.5U0 |
1.5U0 |
|
Максимальное значение тока вентиля Iвmax |
7I0 |
3.5 I0 |
3.5 I0 |
7 I0 |
|
Среднее значение тока вентиля Iср |
I0 |
0.5 I0 |
0.5 I0 |
I0 |

Рис. 3. Двухполупериодный выпрямитель со средней точкой:
Рис. 4. Мостовая двухполупериодная схема выпрямления.




Рис.10 Структурная схема компенсационного стабилизатора постоянного напряжения

