ПРАКТИЧЕСКОЕ ЗАНЯТИЕ ПО «ТРАКТОРАМ И АВТОМОБИЛЯМ»
ТЕМА. РАЗБОРКА И СБОРКА ТОПЛИВОПОДКАЧИВАЮЩЕГО НАСОСА, ВОЗДУХООЧИСТИТЕЛЯ, ТОПЛИВНОГО НАСОСА.
ЦЕЛЬ. Изучение строения и работы топливных насосов высокого давления и форсунок. Формирование практических навыков установления насосов на двигатель и проверки момента начала подачи топлива.
По окончании практического занятия студент, как будущий механик – специалист по организации и обеспечению технической эксплуатации машин, должен, в объеме изученного материала, Овладеть следующими знаниями и навыками:
А) определять последовательность выполнения разборочно-сборочных работ;
Б) проводить дефектовку деталей субъективными методами и с использованием контрольно-измерительного инструмента, приспособлений, приборов и стендов;
В) определять техническое состояние деталей системы питания дизельного двигателя.
В частности студент Должен Уметь:
А) выполнять разборку и сборку узлов и механизмов тракторов, самоходных шасси и автомобилей с соблюдением требований техники безопасности, с сохранением первоначального состояния деталей, с сохранением комплектности и принадлежности деталей и др. правилами разборочно-сборочных работ;
Б) грамотно выбрать, подготовить и использовать контрольно-измерительный инструмент;
В) пользовать справочной литературой при выполнении аналитического расчета агрегата, а также иных работ.
ОБОРУДОВАНИЕ. Инструмент для монтажных работ, детали и сборные единицы системы питания дизельного двигателя, моментоскоп, металлическая линейка длиной 300 мм., инструкционная карта и методическое обеспечение рабочего места.
ЛИТЕРАТУРА:
1. Гуревич А. М. и Сорокин Е. М. Тракторы и автомобили. Изд. 4-е, перераб. и доп. М. «Колос», 1978.
2. Гуревич А. М. и Сорокин Е. М. Тракторы и автомобили. Изд. 2-е, перераб. и доп. М. «Колос», 1974.
3. Трактори та автомобілі: Підручник / Я. Ю. Білоконь, А. І. Окоча. – К.: Вища освіта, 2003. – 560 с.: іл.
4. Гуревич А. М. Тракторы и автомобили. – 3-е изд., перераб. и доп. – М.: Колос, 1983. – 336 с. ил.
5. Тракторы и сельскохозяйственные машины / Л. А. Гуревич, В. А. Лиханов, Н. П. Сычугов. - М.: Агропромиздат, 1986. – 336 с., ил.
6. Зайцевский А. П., Чичков В. А. Практикум по тракторам и автомобилям.
7. Ковалев Н. Г. Практикум по тракторам и автомобилям. Колос, 1981. – 223 с., ил.
ОСНОВНЫЕ ТРЕБОВАНИЯ БЕЗОПАСНОСТИ:
1. К выполнению работы приступать только после инструктажа и по указанию преподавателя. 2. На рабочем месте соблюдать порядок и чистоту. Не загромождать проходы и территорию рабочего места. Демонтированные детали и узлы складировать на столах или других, предназначенных для этого, местах. При необходимости, до начала работы навести порядок на рабочем месте. 3. Использовать исправные инструмент и приспособления, применять их по назначению. 4. Без разрешения преподавателя не покидать и не менять рабочее место и характер работы. 5. Использовать только безопасные приемы выполнения работы, соблюдать дисциплину.6. Согласовывать свои действия с действиями других участников работы с целью предупреждения травмирования друг друга. 7. При обнаружении угрозы собственной безопасности или безопасности окружающих, а также в случае получения травмы, немедленно прекратить работу и сообщить преподавателю.
Содержание и последовательность выполнения работы
Для выполнения данного занятия необходимо ознакомиться с инструкционной картой и теоретическими материалами заданной темы в литературе.
После чего можно приступать к выполнению работы, получив у преподавателя задание для каждого звена.
ЗВЕНО № ________
Характеристика механизмов двигателя
(для звена №1 – СМД - 60, №2 – Д - 240, №3 – ЯМЗ, №4 – Д - 160, №5 – А-41)
|
Название |
Показатель |
|
Тип (марка) топливоподкачивающего насоса |
|
|
Давление создаваемое пружиной поршня, МПа |
|
|
Давление топлива поступающего в фильтр, МПа |
Ход работы
1. Разобрать топливоподкачивающий насос, изучить его строение и работу. Собрать насос.
2. Частично разобрать топливный насос (марку определяет преподаватель), выучить его строение и работу. Собрать топливный насос. Установить топливный насос на двигатель.
3. Частично разобрать воздухоочиститель, изучить его строение и работу. Произвести его сборку.
На рисунке 1 укажите основные детали и узлы системы питания дизельного двигателя.
|
Рис. 1 – Схема системы питания дизельного двигателя |
Ответ: ____________________________________ _________________________________________ __________________________________________ __________________________________________ __________________________________________ _________________________________________ __________________________________________ __________________________________________ __________________________________________ _________________________________________ __________________________________________ __________________________________________ __________________________________________ _________________________________________ __________________________________________ __________________________________________ __________________________________________ _________________________________________ __________________________________________ _________________________________________ |
_
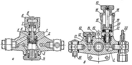
При помощи схем на рисунке 2 (а, б) укажите принцип работы топливоподкачивающих насосов и обозначьте их условные обозначения.
|
Рис. 2 – Схемы топливоподкачивающих насосов поршневого типа. |
Ответ: __________________________________ ________________________________________ ________________________________________ ________________________________________ ________________________________________ ________________________________________ ________________________________________ ________________________________________ ________________________________________ _______________________________________ ________________________________________ ________________________________________ ________________________________________ ________________________________________ ________________________________________ |
_________
Укажите марки двигателей на которых устанавливаются воздухоочистители представленные на рис.3. Укажите их основные узлы и детали.
|
Рис. 3 – Комбинированные воздухоочистители дизелей. |
Ответ: ____________________________________ _________________________________________ __________________________________________ __________________________________________ __________________________________________ _________________________________________ __________________________________________ __________________________________________ __________________________________________ _________________________________________ __________________________________________ __________________________________________ __________________________________________ _________________________________________ __________________________________________ __________________________________________ __________________________________________ _________________________________________ __________________________________________ _________________________________________ __________________________________________ _________________________________________ __________________________________________ _________________________________________ __________________________________________ _________________________________________ |
Контрольные вопросы
1) Для чего предназначен топливоподкачивающий насос в дизельных двигателях?
Ответ:_________________________________________________________________________
_______________________________________
2) Для чего предназначен воздухоочиститель?
Ответ:_________________________________________________________________________
_________________________
3) Для чего предназначен турбокомпрессор?
Ответ:_________________________________________________________________________
_
Вывод:_____
__________
Выполнил студент группы _________ Дата __________ Ф. И.О.____________________
Оценка___________ Дата_________ Преподаватель________________________


