Управління коробкою передач
Механізм управління неавтоматичної коробки передач призначений для вибору, включення і виключення передач водієм.
При безпосередньому управлінні важіль управління встановлюється на самій коробці передач, при дистанційному звично на підлозі кузови або кабіни поблизу місця водія (рідше на рульовій колонці) і з'єднується з КП механічним приводом.
Механізм управління КП розташовується в кришці КП і складається з повзунів 53, 54, 55 (рис.14.1.2.2.) з вилками 15 на кожному повзуні, важеля 51, притискуваного пружиною до сферичної поверхні кришки. Вилки з'єднуються з муфтами синхронізаторів 5 і 13 і шестернею 16 першої передачі і заднього ходу. Нижній кінець важеля може входити в паз однієї з вилок або головок 44 і 45 (рис.14.2.1.) при поперечному переміщенні важеля. При подовжньому переміщенні важеля 1 пересувається повзун з вилкою і включається передача.
Включення двох передач одночасно запобігає замку, що складається з штифта 4 (рис.14.2.3) плунжеров 2 і 5.
При переміщенні штока (повзуна) 1 штоки-повзуни 3 і 6 виявляються замкнутими в нейтральному положенні. При переміщенні штока 6 закриваються штоки 1 і 3.
Для пересування важеля перемикання передач в положення, відповідне включенню заднього ходу, необхідно подолати опір пружини 29 (рис.14.2.1) запобіжника 28.
Запобіжник 28 запобігає випадковому включенню заднього ходу при русі вперед.

Рис.14.2.1
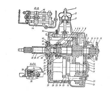
1 — важіль перемикання; 2 — ковпак; 3 і 29 — пружини; 4 і 24 — шестерні третьої передачі; 5 — втулка розпору; 6 і 40 - наполегливі шайби; 7 і 23 — шестерні другої передачі; 8 і 19 — шестерні першої передачі; 17 і 36 — шарикопідшипники; 10 — задня кришка; 11 — сальник; 12 — фланець; 13 — вторинний вал; 14 і 15 — шестерні приводу спідометра; 16 — кришка заднього підшипника проміжного валу; 18, 34 і 37 — гайки; 20 — стопорна пластина; 21 — блок шестерень заднього ходу; 22 — вісь блоку шестерень заднього ходу; 25 — картер; 26 — грязеуловлювач; 27 — шестерня постійного зачіпляє; 28 — запобіжник; 30 — заглушка; 31 — проміжний вал; 32 і 35 — роликопідшипники; 33 — синхронізатор; 38 — кришка первинного валу; 39 — первинний вал; 41 — стопорне кільце; 42 — шестерня первинного валу; 43 — фіксатор; 44 — перевідна головка штока заднього ходу; 45 — перевідна головка штока першої і другої передачі.
У ряді випадків застосовують інші конструктивні рішення по оберіганню від випадкового включення ходу (утоплення важеля і інші способи).

рис. 14.2.2 Положення важеля управління коробки передач
Фіксатори (рис.14.2.3) забезпечують установку муфт і шестерень-кареток при включенні передачі і в нейтральному положенні в необхідному положенні. Кульки 7 під дією пружини 8 входять в поглиблення на повзунах-штоках 1,3,6 і фіксують їх в нейтральному положенні або включенні передачі на повну величину зачіпляє зубів муфт або шестерень.

Рис. 14.2.3 Фіксатори
1 – шток заднього ходу; 2 і 5 – плунжери; 3 – шток третьої і четвертої передач; 4 – штифт; 6 – шток першої і другої передач; 7 – кулька; 8 – пружина; 9 – відлив кришки коробки передач