Обоснование технологической схемы и расчёт параметров предлагаемого распылителя
В АР Крым сотрудниками НПСХП «Наука» разработан и рекомендован к широкому внедрению вентиляторный аэрозольный генератор АГВ-600. В этой машине распыл рабочего раствора осуществляется при помощи вращающегося рабочего органа . Он помещен на выходе из воздуховода генератора и обдувается мощным соосным потоком, который обеспечивает дополнительное дробление капель.
Аналогичный принцип распыливания рабочей жидкости широко применяется и на зарубежных машинах: AJ401-LH-Plus, MIG-S (Италия), JATAO-400, JATAO-600 EXPORT (Франция). Следует отметить, что аэрозольные генераторы отечественного производства имеют преимущества над своими иностранными аналогами. Они заключаются в простоте их конструкции и цене.
![]() |
Модернизация отечественных аэрозольных генераторов и их рабочих органов, в частности, распыливающих устройств, представляет большую практическую значимость для производственных хозяйств Украины.
Рис.2.2 - Общий вид тарельчатой форсунки аэрозольного генератора АГВ-600.

Рис.2.3 – Вид тарельчатой форсунки аэрозольного генератора АГВ-600 снизу.
Прототипом разрабатываемой модели является устройство для разбрызгивания жидкости (Патент UA №69532, 2004 г.), основными конструктивными элементами которого являются распылитель с узлом крепления, разбрызгиватель, система управления, блок питания и система подачи жидкости, корпус цилиндрической формы. По периферии последнего расположены отверстия, через которые выходит жидкость в виде тонких нитей. Они сосредоточены между двумя соседними разбрызгивателями под углом к их площади. Корпус распылителя, на задней части которого имеется крыльчатка, крепится на выходном валу электродвигателя, приводящего рабочий орган во вращение. Число его оборотов регулируется из кабины трактора при помощи реостата. Крыльчатка служит для создания воздушного потока, необходимого для вторичного дробления капель и транспортировки их на обрабатываемые растения. В середине полости распылителя находятся специальные щелевые отверстия проходит нагнетательная магистраль, по которой внутрь поступает рабочая жидкость.
Как было сказано ранее, крыльчатка серийного распылителя приводится во вращение мощным воздушным потоком, создаваемым вентилятором. По утверждению Н. И. Клёнина и В. А. Сакуна, размер образующих частиц находится в обратной зависимости от числа оборотов корпуса и вращающегося элемента. В разрабатываемой модели, в отличие от прототипа, в муфте крыльчатки предлагается установить поворотные шайбы, при помощи которых можно изменять угол атаки лопастей (менделево сечение) 1, и, тем самым, регулировать интенсивность распыла за счёт варьирования оборотов. Закрепление последних осуществляется с помощью зажима 2 и ступицы 3. В самой поворотной шайбе имеются пазы 7. Они смещены друг от друга на угол, равный минимальному шагу регулировки положения угла лопастей [5]. В них помещается фиксатор 6 при установке необходимого угла атаки крыльчатки. Таким образом, это даст возможность регулирования частоты вращения форсунки, а, вместе с тем, размер образующихся частиц в зависимости от типа обрабатываемой культуры и её фаз вегетации. Данное конструктивное изменение также поможет сократить затраты мощности машины и расход воздушного потока для обеспечения необходимой частоты вращения распылителя. Общая схема крыльчатки с поворотными лопастями показана на рис.2.3.

Рис.2.4 – Схема лопасти крыльчатки с поворотной шайбой
Однако также следует обратить внимание на опыт зарубежных фирм. Для обеспечения возможности регулировки числа оборотов вращающегося элемента распылитель снабжался автономным приводом. В качестве последнего использовался электродвигатель с питанием от батареи либо передвижная каретка.
Кроме того, в конструкции разрабатываемого распылителя, в отличие от прототипа, сетчатые разбрызгиватели с расположенными между ними отверстиями сосредоточены по всей длине корпуса, включая обтекатель.
Следует отметить, что при разработке и изготовлении данного распылителя его лопасти были изначально выставлены и жёстко закреплены на угол, при котором под воздействием мощного воздушного потока обеспечивается максимальная частота вращения крыльчатки, корпуса и тарелок, что даёт самую мелкую дисперсность распыла жидкости, требуемую для аэрозольной обработки на большие расстояния.
Однако, из выше описанного принципа действия этого распылителя можно выявить его значительный для обработки растений недостаток, а именно, невозможность регулировки режимов работы (дальности распыла, скорости жидкостного потока) в зависимости от типа защищаемых виноградниковых насаждений и их фаз вегетации.
В связи с этим в конструкции аэрозольного генератора предлагается применять модернизированный распылитель, разработанный на базе серийного образца.
Методика его расчёта построена на основе результатов теоретических и экспериментальных исследований академиков В. Ф. Дунского, Н. В. Никитина, М. С. Соколова. Согласно их утверждениям, диаметр частиц, образованных распылителем данного типа, зависит не от давления, с которым жидкость подаётся на него, а от числа оборотов и формы вращающегося элемента.
Как говорилось ранее, аэрозольная обработка является частным случаем ультрамалообъёмного опрыскивания. Согласно агротребованиям, предъявляемым к проведению данной операции, диаметр частиц должен составлять не более 10-50 мкм [1]. В ходе своих исследований учёные Дунский, Никитин и Соколов вывели формулу для определения размера капель, образуемых вращающимся распылителем [3]:
(2.28)
где: w и R – соответственно угловая скорость и радиус вращающегося элемента;
s и r - поверхностное натяжение и плотность жидкости;
С – константа, зависящая от свойств жидкости и других факторов. Для
воды и минеральных масел С»2,9 [3].
Исходя из требуемого диаметра аэрозольных частиц, можно определить необходимое число оборотов тарелок:
(2.29)
Из курса физики известно, что:
(2.30)
Следовательно:
(2.31)
Из приведенных выше формул видно, что, кроме физико-химических свойств жидкости, на диаметр образующихся капель влияют радиус и число оборотов вращающегося элемента.
Как говорилось ранее, в своих опытах Дунский, Никитин и Соколов в качестве распыливаемого объекта использовали соляровое масло (![]()
![]()
).
Для случая дробления данной жидкости произведём расчёт диаметра капель, образованных распылителем с радиусом вращающегося элемента R=40 мм; R=50 мм; R=60 мм.
r=40 ммÞ
мкм;
r=50 ммÞ
мкм;
r=60 ммÞ
мкм.
На основании этих расчётов был построен аналитический график зависимости диаметра образующихся капель от радиуса (рис. 2.5).

Рис.2.5 – Зависимость диаметра образующихся капель d от радиуса вращающегося элемента r
Таким образом, при использовании вращающегося элемента радиусом r=60 мм можно получить оптимальную для аэрозольной обработки степень распыла. Диаметр образующихся капель составляет d=43,9 мкм.
Однако, кроме этого, известно, что на значение данного показателя существенное влияние оказывает число оборотов вращающегося элемента. По данным государственных испытаний аэрозольного генератора АГВ-600, его распылитель может раскручиваться до 6000-8000 об/мин. При различном числе оборотов вращающегося элемента, имеющего установленный радиус, размер образующихся капель составит:
nT=5000 об/минÞ
мкм;
nT=6000 об/минÞ
мкм;
nT=7000 об/минÞ
мкм;
nT=8000 об/минÞ
мкм.
Результаты этих расчётов представлены в виде аналитического графика зависимости размера капель от числа оборотов вращающегося элемента (рис. 2.6)

Рис.2.6 – Зависимость размера образующихся капель d от числа оборотов вращающегося элемента nT с постоянным радиусом r=60 мм.
Анализ графической зависимости показал, что диаметр капли, при изменении числа оборотов вращающейся тарелки 5000…8000 об/мин (при постоянном её радиусе r=60 мм) изменяется в диапазоне 32,8…52,6 мкм.
При описании принципа действия распылителя, применяемого на аэрозольном генераторе АГВ-600, говорилось, что его крыльчатка приводится во вращение мощным воздушным потоком. Он создаётся центробежным вентилятором. По утверждению учёных, занимавшихся вопросами аэродинамики, а, именно, П. И. Дурнова, В. М. Черкасского, степень воздействия воздушного потока на лопасти крыльчатки зависит от угла их установки β. Следовательно, под влиянием этого параметра изменяется и частота вращения n распылителя.
Так же, как и серийный образец, предлагаемая модель имеет крыльчатку диаметром D=150 мм. Зная этот параметр и частоту вращения, необходимую для обеспечения требуемой дисперсности дробления жидкости, можно вычислить скорость воздушного потока, создаваемого крыльчаткой распылителя, пользуясь формулой Летошнева:
(2.32)
где: Δ=0,55…0,85 – коэффициент использования входного отверстия;
μ=0,8…1 – коэффициент поджатия потока;
=
≈1,9 – соотношение диаметров входного отверстия и колеса вентилятора;
=0,42…0,46 – коэффициент предварительного закручивания потока;
n – частота вращения колеса вентилятора.
Отсюда:
м/с. (2.33)
Количество лопастей крыльчатки предлагаемого распылителя равняется 8. Согласно теории П. И. Дурнова:
(2.34)
где: U – окружная скорость крыльчатки;
m – модуль, который представляет собой теоретическую длину пути, пройденную воздухом при повороте крыльчатки на 1 радиан
[26];
R=75 мм – радиус крыльчатки;
Са=8Rω=16Rπn=941,2 м/с – осевая скорость крыльчатки.
Далее определяем количество воздуха, необходимое для передачи крыльчатке требуемой частоты вращения, используя формулу П. И. Дурнова:
(2.35)
где: А – площадь выходного сечения горловины воздуховода:
А=πR2. (2.36)
Следовательно:
QТ=16АRπn. (2.37)
Также для того, чтобы определить мощность, затрачиваемую на привод крыльчатки распылителя, нужно вычислить давление создаваемого ею воздушного потока. С этой целью применяется формула Летошнева:
. (2.38)
Динамическое давление:
. (2.39)
Статическое давление зависит от сопротивления сети, которое характеризуется коэффициентом:
![]()
(2.40)
где F – площадь выходного отверстия вентилятора; FЭ - площадь эквивалентного отверстия.
Под эквивалентным отверстием понимают отверстие площадью FЭ, через которое при том же статическом давлении
подаётся такое же количество воздуха, как и через сеть при наличии потерь. Статическое давление:
(2.41)
Зная расход и полное давление воздуха на выходе из горловины воздуховода, определим мощность, затрачиваемую на привод крыльчатки распылителя [26]:
N=h×QТ. (2.42)
Согласно теории П. И. Дурнова, угол атаки лопастей β оказывает существенное влияние на окружную составляющую скорости воздушного потока, создаваемого крыльчаткой Сu:
Cu=CaCtgβ. (2.43)
Также известно, что:
(2.44)
где:
- момент количества движения массы воздуха, Н×м.
Таким образом:
(2.45)
Произведём расчёт угла атаки лопастей β, который необходим для обеспечения определённой частоты вращения крыльчатки.
Для n=6000 об/мин:
Скорость воздуха на выходе из крыльчатки:
м/с.
Расход воздуха на привод крыльчатки:
QТ=16АRπn=25434×3,14×6000=4791 м/ч3=1,33 м/с3.
Динамическое давление:
МПа.
Статическое давление:
МПа.
Полное давление:
МПа.
Мощность на привод крыльчатки:
N=h×QТ=103×1,33=136,99 Вт=0,13699 кВт.
Необходимый угол атаки лопастей:
º.
Для n=7000 об/мин:
Скорость воздуха на выходе из крыльчатки:
м/с.
Расход воздуха на привод крыльчатки:
QТ=16АRπn=25434×3,14×7000=5590 м/ч3=1,55 м/с3.
Динамическое давление:
МПа.
Статическое давление:
МПа.
Полное давление:
МПа.
Мощность на привод крыльчатки:
N=h×QТ=109,45×1,55=169,65 Вт=0,16965 кВт.
Необходимый угол атаки лопастей:
º.
Для n=8000 об/мин:
Скорость воздуха на выходе из крыльчатки:
м/с.
Расход воздуха на привод крыльчатки:
QТ=16АRπn=25434×3,14×8000=5752 м/ч3=1,6 м/с3.
Динамическое давление:
МПа.
Статическое давление:
МПа.
Полное давление:
МПа.
Мощность на привод крыльчатки:
N=h×QТ=115,8×1,6=185,28 Вт=0,18528 кВт.
Необходимый угол атаки лопастей:
º.
На основании полученных данных строятся графики зависимостей частоты вращения крыльчатки n от угла атаки лопастей β (рис. 2.7) и мощности на привод крыльчатки N от угла атаки лопастей β (рис. 2.8).

Рис. 2.7 – Зависимость частоты вращения крыльчатки n от угла атаки лопастей β

Рис. 2.8 – Зависимость мощности на привод крыльчатки N от угла атаки лопастей β
Кроме того, в конструкции разрабатываемой модели, в отличие от серийного образца, предлагается вместо конусообразных использовать тарелки чашеподобной формы 10 (рис. 2.9 и 2.10). Это, по мнению многих учёных, проводивших исследования в области динамики и механики воздушно-жидкостного потока, поможет дать ему правильное направление, т. е. частица не будет входить в завихрение, а идти по прямолинейной траектории. Кроме того, за счёт этого увеличивается дальность полёта аэрозольной струи [3, 5]. Это подтверждается с помощью модели гидродинамики дробления жидкости вращающимся распылителем предлагаемой конструкции в сравнении с серийным образцом, находящимся на выходе из воздуховода аэрозольного генератора АГВ-600, построенной на основе теории академика В. С. Галустова [7] (рис. 2).

Рис. 2.9 – Гидродинамическая модель факела,образуемого серийным распылителем

Рис. 2.10 – Гидродинамическая модель факела, образуемого предлагаемым распылителем
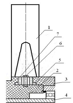
На основании выше представленных результатов теоретических исследований была разработана принципиальная схема предлагаемого распылителя, показанная на рис. 2.11.

Рис.2.11 – Принципиальная схема предлагаемой распылителя
Таким образом, при помощи всех выше указанных конструктивных изменений можно будет осуществить трёхступенчатый процесс распыливания жидкости и регулировать его в зависимости от обрабатываемой культуры и её фаз вегетации без значительных изменений и усложнения устройства данного узла и увеличения металло - и энергоёмкости его и всей машины в целом.
