Конструкторская разработка - Стенд для ремонта обмолачивающих барабанов комбайнов
В сельских ремонтных предприятиях встречаются стенды 1960 – 70 годов выпуска модели ОПР – 989. Однако они имеют следующие недостатки: не предназначены для выполнения балансировки ремонтируемого барабана, имеют ручной привод изменения положения пресса-выравнивателя, их конструктивные размеры не позволяют ремонтировать барабаны современных комбайнрв
Устройство и работа стенда
Стенд для ремонта молотильных барабанов представляет собой стационарную установку. Его основой является массивная рама-каркас, элементы которой соединены электросваркой. На рабочей поверхности рамы имеются две разнесенные опоры (правая и левая), для размещения на них ремонтируемого молотильного барабана. Правая опора может переустанавливаться в зависимости от длины барабана. Это придает стенду универсальность, т. е. возможность ремонтировать на нем молотильные барабанных различных комбайнов. Опоры должны обеспечивать : в одном случае жесткое, неподвижное крепление барабана, во втором случае свободное вращательное движение барабана при выявлении изгиба вала. Для первого случая в опоре имеется угловой паз, а зажатие вала в нем осуществляется двумя гидрозажимами. Геометрические оси перемещения гидрозажимов расположены под углом 90°. Для второго случая вал барабана из углового паза помещается на роликовую опору, которая является составной частью общей опоры и перемещается (вверх или вниз) гидроцилиндром.
Для выравнивания изгиба вала барабана у стенда имеется пресс-выравниватель. Пресс является подвижным, т. е. он имеет возможность перемещаться вдоль вала барабана и располагаться в необходимом месте для выравнивания изгиба вала. Рабочее усилие пресса-варавнивателя создается гидроцилиндром, который для обеспечения жесткости механической системы имеет увеличенную высоту поршня.
Для этой цели конец штока гидроцилиндра с помощью ползуна перемещается в направляющих.
Подвижность пресса-выпрессовывателя в горизонтальном направлении достигается за счет того, что он установлен на подвижной плите, которая боковыми краями опирается на направляющие пазы. Движение перемещения прессу сообщает гидроцилиндр, шток которого шарнирно соединен с подвижной плитой. Перемещающий гидроцилиндр размещен внутри рамы-каркаса. Там же размещена гидронапорная станция стенда, которая обеспечивает гидравлической энергией гидроцилиндр пресса-выравнивателя, гидрозажимов опор, гидроцилиндр механизма перемещения пресса, а также гидрозажимы для монтажа-демонтажа бичей барабана.
Источником механической энергии гидронапорной станции служит асинхронный трехфазный электродостигатель, расчет которого приведен далее. Гидравлическая схема стенда приведена на листе графической части.
В передней части стенда, вдоль геометрической оси барабана, имеется упорная планка. На ней размещаются гидравлические зажимы для монтажа-демонтажа бичей барабана. Данные гидрозажима являются съемными, служат для фиксации головок болтов, крепящих бичи. На общем виде стенда они не показаны.
Управление механизмами стенда осуществляются гидрораспределители, рукоятки которых вынесены на пульт управления.
Работает стенд следующим образом. Молотильный барабан, требующий ремонта, участками валов устанавливается на опоры. При операции разборки барабана используются в виде угловых пазов. Для этого роликовые опоры опускаются гидроцилиндром ниже опорных поверхностей угловых пазов.
Проворачиванием барабана, намеченный для демонтажа бич устанавливается против упорной планки. Гидрозажимами опор вал зажимается, что исключает его смещение. Затем на упорную планку помещаются гидрозажимы для бичей, которые удерживают головки болтов, крепящих бичи, от проворачивания. После этого торцевым ключом отвинчиваются гайки болтов. После отвинчивания всех гаек бича гидрозажимы бичей снимаются с упорной планки. Далее гидрозажимы опор освобождают вал и барабан устанавливается в положение для снятия следующего бича. Далее операции повторяются в вышеуказанном порядке.
Чтобы выявить места изогнутости вала барабана его помещают на роликовые опоры. Для этого роликоопоры гидроцилиндрами поднимают вверх до момента отхода вала барабана от опорных поверхностей угловых опор. При этом барабан легко и свободно проворачивается на роликовых опорах.
С помощью индикаторной головки установленной на пресс-выравнивателе определяют места изогнутости вала. Их отмечают мелом и приступают к выравниванию вала. Для этого барабан возвращают на жесткие опоры и фиксируют гидрозажимами.
К выравниваемым листам вала подают пресс-выравниватель и воздействие рабочей головки штока передеформируют вал в необходимом направлении. Величину передеформирования вала при выравнивании контролируют индикаторной головкой.
Отремонтированный барабан необходимо статически отбалансироват. Для этого его вновь помещают на роликовые опоры и выполняют балансировку.
Расчеты, подтверждающие работоспособность стенда
Определение рабочих нагрузок.
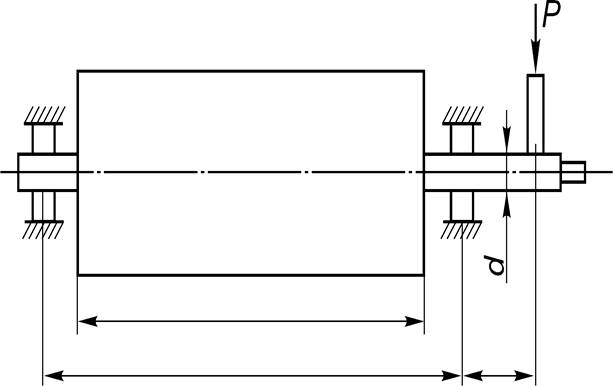
Основным силовым элементом стенда является пресс-выравниватель. Он должен развивать рабочее усилие, обеспечивающее остаточную деформацию изгиба вала при его выравнивании. Расчетная схема процесса выравнивания вала барабана приведена на рисунке ….

Рис. Расчетная схема процесса выравнивания вала молотильного барабана.
Величина деформации усилия Р определяется из условия:
, (1)
где
мПа – допустимое напряжение изгиба для валов при нагрузке постоянной по знаку, но изменяющейся от нуля до максимума [ ].
Напряжение изгиба, вызывающее остаточную деформацию выпрямляемость вала
.
Действительное напряжение изгиба в валу от усилия Р:
, (2)
.
Технологический изгибающий момент:
,
где l = 50…100 мм – технологическая база.
Момент сопротивления изгибу:
,
где d = 75 мм – наибольший диаметр искривленного вала, значение взято для известных конструкций молотильных барабанов.
Из уравнения (1) и (2) определяем величину Р:

Принимаю Р = 85 кН.
Таким образом, максимальная рабочая нагрузка, действующая на конструкцию стенда, при его эксплуатации составит 85 кН.
Для расчета гидрозажимов опор необходимо знать реакционные знать реакционные нагрузки, возникающие на опорах. Расчетная схема проведена на рисунке …. В принятой схеме опорные точки приняты подвижными. Размеры, указанные на схеме, воспроизводят наиболее опасный вариант нагружения.

Рис. Схема нагружения вала молотильного барабана, размещенного на опорах-ложеметах стенда при выпрямлении изгиба вала. QБ = 520 Н – вес барабана комбайна Дон-1500.
На основании уравнений статики определяю в опорах:

.
На основании расчетов принимаю максимальное значение рабочей нагрузки на гидрозажим опоры-ложемента 101 кН.
Расчет элементов гидропривода
Расчет элементов гидропривода в программе Mathcad 2000
Для гидроприводов силовых установок, к которым можно отнести проектируемый стенд давление рабочей жидкости в гидросистеме должно лежать в пределах 6,5…20МПа[ ].
Принимаю
, так как такое давление обеспечивают наиболее распространенные и приемлемые конструкции шестеренчатые насосы типа НШ.
Рабочую жидкость выбираю из условий, что температура ее застывания должна быть на 15…20оС ниже минимальной температуры окружающей среды, а кинемати - ческая вязкость при р = 7…15 МПа должна составлять 0,6…1,1 см2/с. Останавливаю свой выбор на масле М10Г2 (ГОСТ 8581-88), у которого при 50оС вязкость n=0,82см2/с, температура застывания -3оС, плотность r=890кг/м3.
Определяю минимальный диаметр поршня силового гидроцилиндра пресса-выравнивателя. Предварительно площадь Sp и диаметр Dp поршня:
![]()

![]()

![]()
Для обеспечения устойчивости механической системы пресса-выравнивателя и в частности силового гидроцилиндра принимаю внутренний диаметр гидроцилиндра dП = 220 мм.
Проверяю достоверность его размера из условия достоверности развиваемого рабочего усилия
![]()
где Р=85 кН необходимое рабочее усилие силового гидроцилиндра пресса - выравнивателя ().
Действительное усилие, развиваемое силовым гидроцилиндром:
![]()
![]()
- коэффициент полезного действия гидроцилиндра

![]()
![]()
Таким образом, условие работоспособности выполняется, т. е.
![]()
![]()
![]()
Мощность гидроцилиндра пресса определяю как:


![]()
Необходимую мощность насоса найдем приняв коэффициенты запаса по скорости kс = 1,1; по усилию kу = 1,2 [ ]:
![]()
![]()
![]()
Необходимая подача:
![]()


Ориентируясь на требуемое давление в гидросистеме и величину подачи наибольшего гидроцилиндра для гидронапорной станции стенда выбираю шестеренчатый насос НШ-32У. Характеристики насоса:
рабочий объем 32 см3/об;
рабочее давление 10…14 МПа;
номинальная частота вращения 1000 об/мин.
Диаметр поршня гидроцилиндров гидрозажимов опор-ложементов определяю исходя из расчетной схемы приведенной на рисунке

Рис. Схема нагружения гидрозажимов опоры-ложемента.
Необходимое усилие прижатия вала барабана:
![]()

![]()
Площадь поршня зажимного гидроцилиндра:
![]()

![]()
Минимальный диаметр поршня:

![]()
Принимаю внутренний диаметр гидроцилиндра 100 мм.
Гидроцилиндр механизма перемещения пресса-выравнивателя не испытывает значительных рабочих нагрузок. Поэтому его размеры принимаю из конструктивных соображений:
диаметр поршня гидроцилиндра 50 мм;
диаметр штока 25 мм;
ход поршня 500 мм
Расчеты на прочность
Соединение направляющих стоек с элементами конструкции пресса. Данное соединение определяет безопасность работы пресса-выравнивателя. Соединение является резьбовым.

Рис. Схема нагружение резьбового соединения направляющей стойки:
1 – силовой гидроцилиндр; 2 – выравниваемый вал; 3 – направляющая стойка с резьбовым креплением М30.
Как видно из схемы общая рабочая нагрузка равномерно распределяется на четыре стойки и соответственно на их резьбовые крепления.
В рассматриваемом случае предварительная затяжка не обязательна. Прочность соединения определяется из условия:
.
Допускаемое напряжение растяжения:
МПа,
где
МПа – предел текучести стали 45, из которой выполнены направляющие стойки [ ];
– коэффициент запаса прочности резьбового соединения [ ].
Действительное напряжение растяжения в опасном сечении резьбового участка:
МПа,
где d2 = 26,2 мм – внутренний диаметр резьбы М30.
Таким образом, условие прочности выполняется, т. е.
57 МПа =
= 225 МПа.
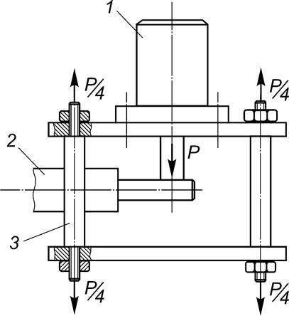
Крепление крышки силового гидроцилиндра.
Прочность данного крепления определяет надежность работы пресса. Из приведенной схемы видно, что действующая нагрузка перпендикулярна плоскости стыка и проходит через центр его тяжести. Все болты нагружены одинаково. Данное крепление выполнено с предварительной затяжкой. Определим силу предварительной затяжки:
кН.
где Кст = 3,0 – коэффициент запаса против раскрытия стыка [ ];
z = 6 – число болтов;
– коэффициент основой нагрузки.
Общая нагрузка на крышку и соответственно на все болты Р = 170 кН.
Результирующая сила от предварительной затяжки и от рабочей нагрузки:
кН.
Ориентируясь на расчетное значение результирующей осевой силы на болты крепления крышки выбираю размер болтов М14, которые допускают осевое нагружение до 27,2 кН [ ].

Рис. Схема нагружения крепления крышки силового гидроцилиндра. Количество болтов крепления – 6; резьба – М12.
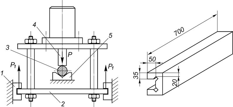
Полка направляющей опорной плиты пресса. Прочность полок направляющих, по которым перемещается опорная плита пресса, также обеспечивает безопасность и надежность работы стенда во время выравнивания изогнутости вала молотильного барабана. Схема нагружения полок показана на рисунке 3.6.
Из схемы видно, что полка на всей длине подвержена деформации – изгибу. При расчете ее прочности следует учитывать наличие опасного сечения А–А, образованного угловым пазом. Прочность полки определяется условием:
,
где
МПа – допустимое напряжение изгиба для стали 45, из которой изготовлена направляющая, при нагрузке постоянной по знаку, но изменяющейся от нуля до максимума [ ].

Рис. Схема нагружения полки направляющей и ее конструктивные размеры: 1 – направляющая; 2 – опорная плита пресса; 3 – выравниваемый вал; 4 – шток силового гидроцилиндра; 5 – опора.
Действительное напряжение изгиба в сечение А–А определяю из условия наиболее неблагоприятного распределения, нагрузки между плитой и направляющей, а именно: нагрузка Р1 приложила на кромке полки (т. е. с плечом действия l=50 мм), кроме того имеет место неравномерность распределения нагрузки Р, по длине полки
МПа,
где k = 1,5 – коэффициент неравномерности распределения нагрузки по длине полки;
l = 50 мм;
b = 700 м;
h = 20 мм – конструктивные размеры.
Р1 = Р/2 = 85/2 = 42,5 кН – рабочая нагрузка, действующая на полку одной направляющей.
Из результатов расчетов видно, что прочность полок направляющих с принятыми конструктивными размерами достаточна, т. к. условие прочности соблюдается.
МПа.